栃木県鹿沼市で建てる「ダブル断熱 注文住宅」
今日は現場監理でした!
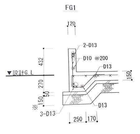
防水の納まり、コンセントの位置など確認。
花火を見たりするための、お客様こだわりのバルコニー♪
高さ関係がシビアなので、棟梁と念入りに確認!これから、断熱材(セルロースファイバー)施工へと進んで行きます。
バルコニーの下地部分は通常密閉されてしまうのが殆どというか、当たり前・・・。
しかしそれでは、結露などが起きた時に問題になり、実際にそういった問題が出ている。
その為に合板に穴をあけて通気口を設けています。
大工さんにも
「え!?何の為に!?」
とビックリされましたが、今の家づくりはそんな反応が普通です。
構造計算でも安全は確認済みです。
花火大会などで、みんなでワイワイバーベキューなどをするためのバルコニー!
実は北側です♪
敷地の広さに余裕がなく南側、東側は隣接した家があり、南側はキッチンの換気扇からの臭いや排煙をもろに受ける&そしてかなり日影の影響を受けるほど『環境が悪い』
そんな中、洗濯物干しても最悪な事になります(^^;)
実はこのバルコニー、南側を開放した場合と同じ条件なのですよ♪
南側に建物寄せれば・・・・
「敷地南側の家の影の影響を受ける」
今回の配置は・・・
「南側の他人の家の影の影響を受ける」
なので、益々、南側を解放させるメリットがないんですよ(^^;)
上の影の写真を見ていただくとお分かりの通り、夏の間くらいしか影にならない日はないような感じなのですよ・・・。
・南は太陽が入る
・南東は一番良い環境
こんな考えが普通ですが、全てにその考えを当てはめると、最悪な事になります。
西側は道路拡張した為、交通量もそれなりに多い。
排気ガスの問題や、中学校がすぐ近くなので通行人の目線の問題がある。
実際、結構中学生の通行が多い。
北側には道路挟んで3階建ての家がある。
総合的に判断して、環境がいいのは北側となった…。
計画段階の時、競合相手にハウスメーカー何社か入っていましたが、
『南側を潰す』とか言ってるのは僕だけで、お客様も反対されていたのですが…
段々と南側潰しの方が・・・
- 北側に駐車場も取りやすい
- 南側日影になってばかり
- 臭いダメ
- 花火大会やお祭りの時にバルコニーで楽しむには『北側解放』が一番良さそう!
という事で、目指すところが一致し、契約♪
間取りなども決まりました!
南側は約1mしか離していません。
そのおかげで、北側に駐車場2台&屋根(バルコニー)付き駐輪場も玄関脇に設けられました。
なので、メインのリビングは2階です!
ハイサイドライトも取り入れて、東側からの明るさ、北側からの安定した明るさも確保しました!
↓2階リビング&キッチン
こんな感じのアングルです♪
こっちはこんなアングル

バルコニーとも段差なしで一体的なリビングがお客様のこだわりでもあったので、構造もかなり考えたお家です♪
気持ちのよいリビングになりそうです(^-^)
しかしながら花火大会の時は目の前が打ち上げる河川なので、↓な感じで特等席で見れますね( ´艸`)
(※合成写真です(笑)